Пользователь Twitter под ником @Underfox3 обнаружил американский патент компании AMD в котором описывается гибридная процессорная архитектура. Заполнен он был в ведомстве по патентам и товарным знакам США и содержит описание так называемой "гетерогенной процессорной системы", включающей "низкопроизводительный сопроцессор".
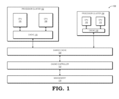
К патенту прикреплена блок-схема, которая очень напоминает по дизайну архитектуру ARM big.LITTLE. По сути, в AMD точно так же хотят разбить процессор на два кластера с разной производительностью. Описанные в патенте высокопроизводительный и энергоэффективный процессоры будут иметь отдельную кэш-память первого уровня, но память второго уровня будет общей.
Энергоэффективный или "low feature" процессор (так он обозначен в патенте) будет поддерживать набор инструкций ISA и будет обладать более низкой производительностью и энергопотреблением в сравнении с высокопроизводительным.
На данный момент неизвестно, будет ли использоваться подобный подход только в мобильных или же и в настольных процессорах. В любом случае, имплементация гетерогенной компоновки в архитектуре x86 от AMD обещает быть очень интересной.














