Недавно стало известно, что японская компания Tamron, производящая фотообъективы, линзы и оптические приборы подала патент на сдвоенную камеру, которая, скорее всего, предназначена для установки именно в смартфоны. Однако множественными камерами в мобильных устройствах сегодня уже никого не увидишь, тогда в чём же тут инновация?
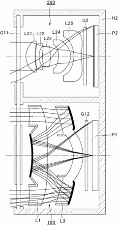
Дело в том, что первый модуль является широкоугольным и выполнен в классической манере, а вот второй оснащен зеркально-линзовым или катадиоптрическим телеобъективом, то есть содержит как специальные линзы, так и сферические зеркала (катоптрику). Такая конструкция позволяет значительно увеличить фокусное расстояние, не увеличивая при этом размер самого объектива.
К сожалению, официальных данных, когда патент поступит в массовое производство, а главное, какие устройства будут оснащены инновационной камерой, пока нет.

