В новом патенте, обнаруженном tech4gamers.com, компания AMD выражает свои опасения по поводу ограничений пропускной способности стандарта DDR5, особенно сейчас, когда постоянно растет спрос на вычислительные мощности ИИ. В то время как Nvidia и такие производители микросхем памяти, как Samsung, SK Hynix и Micron делают ставку на стандарт SOCAMM2 aMD предлагает альтернативный стандарт, который будет легче внедрить в существующие системы DDR5, будь то потребительские системы или решения для центров обработки данных.
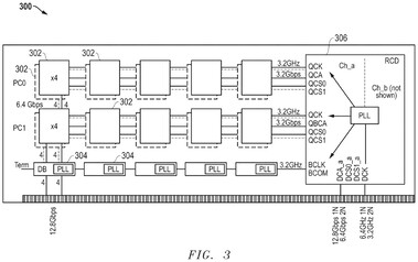
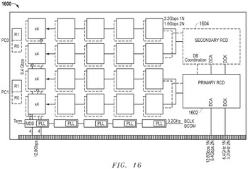
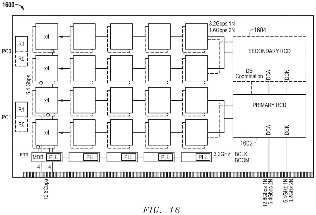
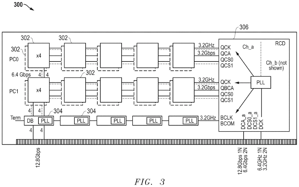
Усовершенствованный стандарт памяти AMD включает в себя "архитектуру модулей памяти с высокой пропускной способностью", которая, по сути, удваивает текущую максимальную пропускную способность DDR5, составляющую 6,4 Гбит/с. Важно отметить, что пропускная способность в 12,8 Гбит/с достигается без изменения конструкции чипов DRAM. Вместо этого чипы DRAM размещаются в модуле двойной рядной памяти с высокой пропускной способностью (HB-DIMM). В модули также интегрирован ряд дополнительных аппаратных компонентов, таких как специальные буферные микросхемы, которые позволяют передавать данные в два раза быстрее, чем это предусмотрено стандартом DDR5. Более того, в модуле используются драйверы регистровых тактовых генераторов (RCD), которые направляют сигналы более эффективно, распараллеливая доступ к памяти и тем самым преодолевая ограничения пропускной способности стандарта DDR5.
В патенте отмечается, что модули HB-DIMM позволяют быстро переключаться между псевдоканальным и четырехранговым режимами, что делает решение пригодным для высокопроизводительных вычислительных систем, систем искусственного интеллекта, а также игровых систем. Совместимость с DDR5 обеспечивается благодаря гибким режимам тактирования и неинтерлейсному формату передачи данных, который поддерживает целостность сигнала и низкую задержку.
Похоже, что HB-DIMM очень похож на существующий стандарт MRDIMM (Multiplexed Rank Dual Inline Memory Modules) от Micron. Однако MRDIMM доступен только для платформы Xeon Granite Rapids от Intel, поэтому AMD, вероятно, хочет иметь нечто подобное для будущих процессоров EPYC. Phoronix недавно опубликовал тест DDR5-6400 против MRDIMM-8800, и оказалось, что собственный стандарт Micron действительно быстрее, но, конечно, не в два раза быстрее, чем DDR5.
В настоящее время стандарт SOCAMM2 пользуется большей поддержкой в промышленности, поэтому HB-DIMM от AMD, возможно, будет нелегко получить признание, по крайней мере, когда речь идет о секторах HPC и серверов.
Источник(и)
via Techradar / Tech4Gamers / OC3D.net









