Исторически сложилось так, что компания Garmin предлагает варианты своих смарт-часов, ориентированных на активный отдых, с возможностью зарядки от солнечных батарей, которые теоретически обеспечивают бесконечное время автономной работы. На практике такие модели, как Instinct 3 Solar и Fenix 7 Pro Solar (цена $449 на Amazon), работают от трех до пяти недель в зависимости от того, сколько солнечного света попадает на них ежедневно.
До сих пор компания Garmin предлагала зарядку от солнечных батарей только для тех смарт-часов, которые также оснащены дисплеями Memory in Pixel (MiP). В результате Fenix 8 Solar и Tactix 8 Solar лишены более яркой технологии AMOLED-панелей, которая используется в Fenix E и обычных Fenix 8. Между тем, версии Fenix 8 Pro на солнечных батареях пока не существует, поскольку Garmin ограничивает свои последние смарт-часы под маркой Pro дисплеями AMOLED и microLED.
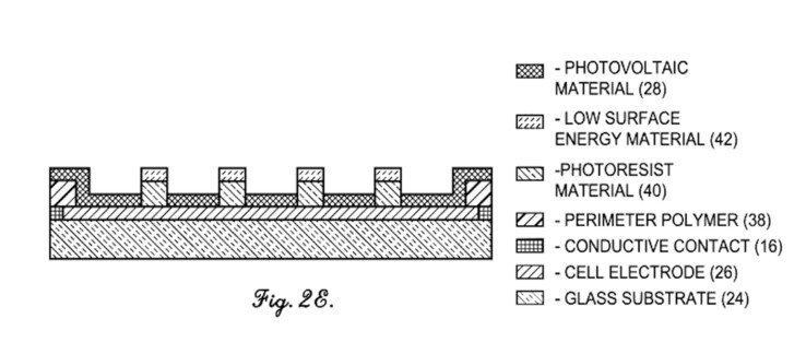
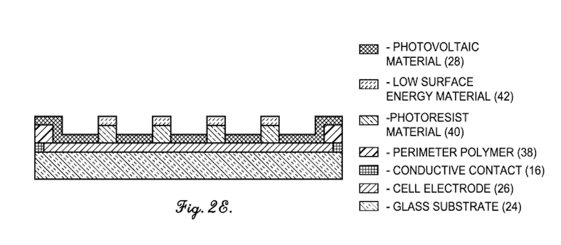
Однако недавняя патентная публикация указывает на то, что компания Garmin надеется изменить это ограничение, переработав свою реализацию солнечных батарей. Поданный в Бюро по патентам и товарным знакам США (USPTO) под названием US 2025/0359354 A1в патенте описывается полупрозрачная солнечная батарея, которая не будет ухудшать видимость AMOLED-панели.
Соответственно, на сайте Gadgets & Wearables предполагает, что компания Garmin работает над выпуском высококлассных смарт-часов с AMOLED-дисплеями и возможностью зарядки от солнечных батарей. USPTO выдала этот патент только 20 ноября. Таким образом, мы подозреваем, что компании Garmin еще несколько лет до серийного производства этой технологии, если она вообще решит это сделать. Учитывая это, мы не ожидаем, что смарт-часы Fenix 9 Pro появятся раньше 2027 года.













